
客戶案例/Customer Case
新聞中心/NEWS
-
鑄造大會在西班牙召開
展會時間:2025年9月25日。展會地點:西班牙,畢爾巴鄂1 、壓鑄設備;熔煉設備;各種冷室/ 熱室壓鑄機(鋁、鋅、銅、...MORE+
-
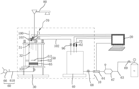
聚合反應連續流裝置,高分子材料可控合成
聚合反應連續流裝置,高分子材料可控合成(分子量分布PDI<1.2),開啟高分子材料可控合成的新紀元,精密控制、高效...MORE+
-
重力控制裝置
森朗科技「重力控制裝置」開啟空間力場精準調控先河,重力,不再是不可逾越的物理法則。森朗科技以量子級精度重構重力場控制邏輯...MORE+
-
森朗工業側線試驗裝置
世紀森朗公司工業側線裝置,工業側線固定床裝置,焦油提煉燃油試驗裝置,合成氣甲烷化工業側線裝置,羰基合成工業側線裝置,烷基...MORE+

































